В корзину														
													
												
								
									Купить в 1 клик
								
							
																																																			
																							Внешний вид, технические характеристики продукции и комплектация, могут быть изменены производителем без предварительного уведомления. Информация не является публичной офертой. Наличие, стоимость- уточняйте у менеджеров.
																					
									Характеристики
									
															В наличии																													
														—
														
																															В наличии																													
													
															Размер хвостовика инструмента, мм (H x B, или DCONMS)																													
														—
														
																															12																													
													
															Производитель																													
														—
														
																															STI																													
													
															Максимальная рабочая длина, мм (LU)																													
														—
														
																															40																													
													
															Общая длина, мм (OAL)																													
														—
														
																															110																													
													
															Тип фрезы																													
														—
														
																															Концевая																													
													Все характеристики
																	
					Изображение носит ознакомительный характер. Реальный вид товара может отличаться от представленного на фотографии.
Цена товара указана с учетом НДС.
				
			Цена товара указана с учетом НДС.

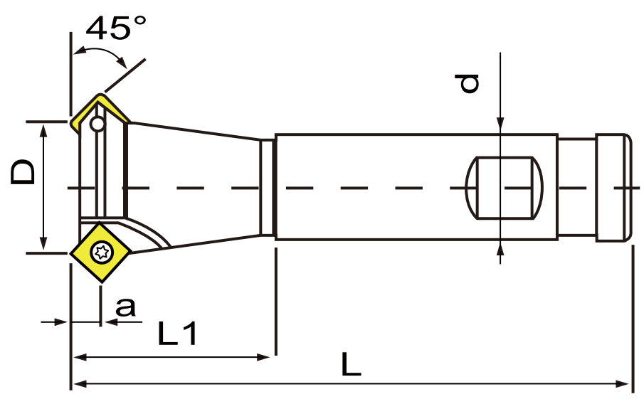
| Наименование | D, мм | d, мм | L1, мм | L, мм | ap, мм | Количество зубьев | Минимальный диаметр отверстия, мм | 
| SD-C12-10-110L-2T | 10 | 12 | 40 | 110 | 4.6 | 2 | 10 | 
SD серия концевых фрез для обработки фасок 45 градусов.
 Концевая фреза SD-C12-10-110L-2T поставляется в комплекте с ключом и предустановленными винтами для крепления режущих пластин, режущие пластины продаются отдельно. Данная фреза со сменными пластинами может работать по различным металлам и неметаллам на фрезерном станке и станках с ЧПУ.
Хвостовик Weldon. 
 Режущая пластина: SPMG0602** 
Ключ: T06
 Будьте внимательны пластины и запасные части другого размера или обозначения могут не подойти для данной фрезы, при использовании пластин отличающихся от рекомендуемых возможна поломка инструмента.
															Характеристики														
																		
                                                                Тип фрезы
                                                            
                            
                                                                            Концевая                                                                    
                            
                                                                Размер хвостовика инструмента, мм (H x B, или DCONMS)
                                                            
                            
                                                                            12                                                                    
                            
                                                                Диаметр режущей части, мм (DC)
                                                            
                            
                                                                            10                                                                    
                            
                                                                Общая длина, мм (OAL)
                                                            
                            
                                                                            110                                                                    
                            
                                                                Тип хвостовика
                                                            
                            
                                                                            Weldon                                                                    
                            
                                                                Назначение
                                                            
                            
                                                                            Фасочная фреза                                                                    
                            
                                                                Главный угол в плане, ° (KAPR)
                                                            
                            
                                                                            45                                                                    
                            
                                                                Максимальная глубина резания, мм (CDX, APMX)
                                                            
                            
                                                                            4.6                                                                    
                            
                                                                Серия инструмента
                                                            
                            
                                                                            SD                                                                    
                            
                                                                Количество зубьев (NOF)
                                                            
                            
                                                                            2                                                                    
                            
                                                                Максимальная рабочая длина, мм (LU)
                                                            
                            
                                                                            40                                                                    
                            
                                                                Производитель
                                                            
                            
                                                                            STI                                                                    
                            
                                                                Подходящая пластина
                                                            
                            
                                                                            SPMG0602**                                                                    
                            
																									Для оформления заказа необходимо:    
																																																																																																																																																																																																																																																						 
- Выберите товары и добавьте их в Корзину;
- Перейдите в раздел Корзина и нажмите «Оформить заказ;
- Выберите способ доставки (курьером или самовывоз);
- Укажите контактные данные;
- Выберите способ оплаты;
- Проверьте правильность оформления заказа (справа, блок "Итого");
- Нажмите кнопку «Оформить заказ»;
- Оплатите заказ.
Заполните онлайн-формы заказа:
																									Оплатить покупку в интернет магазине СпецТехИнструмент можно по счету или банковской картой. 

 
												
																																																																																																																																																																																																																																																						
- Оплата по счету. Доступна для организаций.
- Оплата банковской картой. Доступна для физических лиц.
																									Оперативная доставка заказанного инструмента и оснастки по всей России и в страны СНГ.  
 
 
Стоимость доставки рассчитывается при оформлении заказа.
Пожалуйста, будьте внимательны когда указываете адрес назначения и ваши контактные данные.
																																																																																																																																																																																																																																																																																																																																																																																																																																																																																																																																																										
Стоимость доставки рассчитывается при оформлении заказа.
Пожалуйста, будьте внимательны когда указываете адрес назначения и ваши контактные данные.
- 
	 Варианты для выбора доставки:
- Курьерская доставка транспортной компанией до двери;
- Курьерская доставка транспортной компанией до пункта выдачи;
- Самовывоз из офиса или склада нашей компании в Москве и Новосибирске.




 
																																	 
																																									 
																																									 
																																									 
																																									 
																																									 
																																	 
																																									 
																																									 
																																	 
																																									 
																																									 
																																									 
																																									 
																																									 
																																									 
																																									 
																																									 
																																									 
																																									 
																																									 
																																									 
																																									 
																																									 
																																									 
																																									 
																																	 
																																									 
																																	 
																																	 
																																									 
																																									 
																																									 
																																									 
																																	 
																																									 
																																									 
																																									 
																																	 
																																									 
																																									 
																																									 
																																									 
																																									 
																																									 
																																									 
																																	 
																																									 
																																									 
																																									 
																																									 
																																									 
																																	 
																																									 
																																									 
																																									 
																																									 
																																									 
																																									 
																																	 
																																	 
																																									 
																																									 
																																									 
																																									 
																																									 
																																									 
																																									 
																																									 
																																									 
																																									 
																																									 
																																									 
																																									 
																																									 
																																									 
																																									 
																																									 
																																	 
																																									 
																																									 
																																									 
																																									 
																																									 
																																									 
																																									 
																																									 
																																	 
																																									 
																																									 
																																									 
																																									 
																																									 
																																									 
																																									 
																																									 
																																									 
																																									 
																																	 
																																									 
																																									 
																																									 
																																	 
																																									 
																																	 
																																									 
																																									 
																																	 
																																									 
																																									 
																																	 
																																									 
																																									 
																																	 
																																	 
																																	 
																																	 
																									 
																																	 
																																									 
																																									 
																																									 
																																									 
																																									 
																																									 
																																									 
																																									 
																																	 
																																									 
																																									 
																																									 
																																									 
																																									 
																																									 
																																									 
																																	 
																																									 
																																									 
																																									 
																																									 
																																	 
																																									 
																																									 
																																	 
																																									 
																																									 
																																									 
																																									 
																																									 
																																									 
																																									 
																																									 
																																									 
																																									 
																																	 
																																									 
																																									 
																																									 
																																									 
																																									 
																																	 
																																									 
																																	 
																																									 
																																									 
																																	 
																																									 
																																									 
																																									 
																																									 
																																									 
																																									 
																																	 
																																									 
																																									 
																																									 
																																									 
																																									 
																																									 
																																	 
																																									 
																																									 
																																									 
																																									 
																																									 
																																									 
																																									 
																																									 
																																									 
																																									 
																																	 
																																									 
																																									 
																																									 
																																	 
																																									 
																																									 
																																									 
																																	 
																																									 
																																									 
																																									 
																																									 
																																									 
																																									 
																																									 
																																									 
																																									 
																																									 
																																									 
																																									 
																																	 
																																	 
																									 
																																	 
																																	 
																																	 
																																	 
																																	 
																																	 
																																	 
																																	 
																																	 
																																	 
																																	 
																																									 
																																									 
																																	 
																																									 
																																									 
																																									 
																																	 
																																									 
																																									 
																																	 
																																	 
																																	 
																																	 
																																	 
																									 
																																	 
																																	 
																																	 
																																	 
																																	 
																																	 
																																	 
																																									 
																																									 
																																									 
																																									 
																																									 
																																									 
																																									 
																																									 
																																									 
																																									 
																																	 
																																									 
																																									 
																																									 
																																									 
																																									 
																																									 
																																									 
																																									 
																																									 
																																	 
																																									 
																																									 
																																									 
																																									 
																																									 
																																									 
																																									 
																																									 
																																									 
																																									 
																																									 
																																									 
																																	 
																																									 
																																									 
																																									 
																																									 
																																									 
																																	 
																																									 
																																									 
																																									 
																																									 
																																									 
																																									 
																																	 
																																									 
																																									 
																																									 
																																									 
																																									 
																																	 
																																									 
																																									 
																																									 
																																	 
																																									 
																																	 
																									 
																																	 
																																	 
																																	 
																																	 
																																	 
																																	 
																																	 
																																	 
																																	 
																																	 
																																	 
																																	 
																																	 
																																	 
                                                                     
                                                                     
                                                                     
                         
                         
                         
												 
																							 
																							 
																							 
																							 
																							 
																							 
																							 
																							 
																							 
																							 
																							 
																							 
																							 
																							 
																							 
																							 
																							 
																							 
																							 
																							 
																							 
																							 
																							 
															 
																							 
																							 
																							 
																							 
																							 
																							 
																							 
																							 
																							 
																							 
																							 
																							 
																							 
																							 
																							 
																							 
															 
																							 
																							 
																							 
																							 
																							 
																							 
																							 
																							 
																							 
																							 
																							 
																							 
																							 
																							 
																							 
																							 
																							 
																							 
															 
																							 
																							 
																							 
																							 
																							 
																							 
																							 
																							 
																							 
																							 
																							 
																							 
																							 
																							 
																							 
															 
																							 
																							 
																							 
																							 
																							 
																							 
																							 
																							 
																							 
																							 
																							 
																							 
																							