Как правильно работать метчиком?
 
	В этой статье подробно расскажем, что такое метчик, как им пользоваться, чем отличаются и какой метчик лучше выбрать.
 
	Резьба бывает наружной и внутренней, метчики используют для внутренней.
 
	Они подразделяются на 3 группы, это – ручные, машинные и машинно-ручные метчики.
  
 
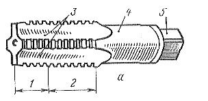
 Метчик состоит из: 1 – заборная часть; 2 – калибрующая часть; 3 – стружечная канавка; 4 – хвостовик; 5 – квадратный фиксатор.
  
 
	Обычный ручной метчик имеет квадратный фиксатор, для его фиксации можно воспользоваться обычным ключом, так же он имеет прямую стружковыводящую канавку, аналогично машинный метчик, так же вставляется в патрон, где фиксатор встает в паз, но в отличии от ручного имеет винтовые канавки. Каким образом происходит обработка: метчик заходит в отверстие нужного диаметра и одновременно проворачивается определенно количество раз с настроенными оборотами. Ручной метчик не способен сделать резьбу за один проход, поэтому понадобится произвести несколько проходов разными метчиками.
 
	Использование только чистового метчика приведет затупливанию зубьев из-за высоких нагрузок и быстрому износу инструмента.
 
	Так же метчики разделяются на сквозные и глухие: 
  
 
 
Главный этап перед нарезанием резьбы – просверлить отверстие нужного размера, т.к. при ошибке можно получить неплотную резьбу, либо сломать метчик из-за перегрузки и большого припуска. Определить оптимальное отверстие можно посмотрев информацию в каталоге, либо посчитав по формуле:
D = TD - TP
 D = диаметр отверстия (мм)
 TD = номинальный диаметр резьбы (мм)
 TP = шаг резьбы (мм)
 Размер отверстия для метчика M10 x 1.5 = 8.5 мм
 (8.5 = 10 - 1.5)
Метчики подразделяются над подгруппы:
Метрические метчики:
Предназначены для нарезания внутренней метрической резьбы с различным шагом, в сквозных и глухих отверстиях. Обозначаются такие метчики буквенным обозначением "М" и измеряются в миллиметрах, числа после него обозначают диаметр и шаг резьбы M6 x 1.0. Размер угла резьбы метрических метчиков равен 60°
Дюймовые метчики:
Специализированный инструмент для нарезания резьбы в дюймовых стандартах UNC (унифицированная с крупным шагом). UNF (унифицированная с мелким шагом). UNEF (особо мелкая резьба). Данные метчики изготавливаются по американскому стандарту. Часто встречаются на зарубежном оборудовании. Диаметр метчика обозначается в дюймах. Шаг означает число витков на один дюйм. Имеет такой же угол резьбы 60° как и у метрических метчиков, но между собой они не совместимы.
Гаечные метчики:
Разновидность метчиков, которые предназначены исключительно для нарезки резьбы на гайках. Имеют длинную хвостовую часть, которая служит для нанизывания гаек. Как только будет нарезана резьба в определенном количестве гаек, метчик извлекается из патрона станка для извлечения всей серии готовых деталей.
Трубные метчики:
Маркируются буквой G, применяются для нарезания трубной резьбы в глухих и сквозных отверстиях в диапазоне от 1/8 до 2 дюймов. Производятся в ручном и машинно-ручном исполнении, подходят для нарезания в системах водоснабжения, гидравлики, двигателях, в изделиях из легированной стали и цветных металлов. Угол резьбы у трубного метчика составляет 55°
Конические метчики:
Предназначены для нарезания конической резьбы, имеют маркировку К (конические метрические) и Rc (конические трубные). Отличаются от других метчиков удлиненной заборной начальной резьбой постепенно переходящей в полную резьбу. Применяются для резьбовых соединений водяных, топливных, масляных, воздушных трубопроводов машин и станков.
Шахматные метчики:
Благодаря такому расположению зубьев (через зуб) уменьшается контакт рабочей части метчика с обрабатываемой поверхностью, снижается сила трения предотвращается заклинивание витков в процессе нарезания резьбы. Именно эти свойства метчика позволяют использовать их для нарезания резьбы в вязких сплавах: алюминий, титан, нержавеющая сталь.
Метчики-раскатники:
Главное отличие таких метчиков, что резьба получается методом деформации материала (накатывания) без образования стружки. Раскатники как правило используют для получения резьбы в цветных металлах и мягких сталях (медь, алюминий, латунь, сплавы из бронзы и свинца, низкоуглеродистая сталь). Резьба получаемая таким методом получается более плотная и прочная, так как материал в месте накатывания уплотняется, становится более твердым и износоустойчивым. Производительность метчиков в 1.5 раза выше, по сравнению с традиционным методом образовыванием стружки. Но технология требует обязательного использования смазочных технологических жидкостей и достаточно мощного оборудования.
	  
 
Подводя итого при выборе метчика стоит учесть следующие характеристики:
- Способ применения (ручной, машинный, машинно-ручной, гаечный);
- Система измерения (дюймовая, метрическая и.д);
- Число инструментов в комплекте (один, два, три);
- Форма профиля (прямоугольная, треугольная, трапециевидная);
- Направление резьбы (левая, правая);
- Форма поверхности (коническая, цилиндрическая).
- Также, необходимо учитывать из какого материала сделана заготовка, в которой будет производиться нарезка резьбы. Инструмент должен быть изготовлен из подходящей по качеству стали или сплава.
Запросить более подробную информацию, либо получить консультацию можно на order@stistore.ru




 
																																	 
																																									 
																																									 
																																									 
																																									 
																																									 
																																	 
																																									 
																																									 
																																	 
																																									 
																																									 
																																									 
																																									 
																																									 
																																									 
																																									 
																																									 
																																									 
																																									 
																																									 
																																									 
																																									 
																																									 
																																									 
																																									 
																																	 
																																									 
																																	 
																																	 
																																									 
																																									 
																																									 
																																									 
																																	 
																																									 
																																									 
																																									 
																																	 
																																									 
																																									 
																																									 
																																									 
																																									 
																																									 
																																									 
																																	 
																																									 
																																									 
																																									 
																																									 
																																									 
																																	 
																																									 
																																									 
																																									 
																																									 
																																									 
																																									 
																																	 
																																	 
																																									 
																																									 
																																									 
																																									 
																																									 
																																									 
																																									 
																																									 
																																									 
																																									 
																																									 
																																									 
																																									 
																																									 
																																									 
																																									 
																																									 
																																	 
																																									 
																																									 
																																									 
																																									 
																																									 
																																									 
																																									 
																																									 
																																	 
																																									 
																																									 
																																									 
																																									 
																																									 
																																									 
																																									 
																																									 
																																									 
																																									 
																																	 
																																									 
																																									 
																																									 
																																	 
																																									 
																																	 
																																									 
																																									 
																																	 
																																									 
																																									 
																																	 
																																									 
																																									 
																																	 
																																	 
																																	 
																																	 
																									 
																																	 
																																									 
																																									 
																																									 
																																									 
																																									 
																																									 
																																									 
																																									 
																																	 
																																									 
																																									 
																																									 
																																									 
																																									 
																																									 
																																									 
																																	 
																																									 
																																									 
																																									 
																																									 
																																	 
																																									 
																																									 
																																	 
																																									 
																																									 
																																									 
																																									 
																																									 
																																									 
																																									 
																																									 
																																									 
																																									 
																																	 
																																									 
																																									 
																																									 
																																									 
																																									 
																																	 
																																									 
																																	 
																																									 
																																									 
																																	 
																																									 
																																									 
																																									 
																																									 
																																									 
																																									 
																																	 
																																									 
																																									 
																																									 
																																									 
																																									 
																																									 
																																	 
																																									 
																																									 
																																									 
																																									 
																																									 
																																									 
																																									 
																																									 
																																									 
																																									 
																																	 
																																									 
																																									 
																																									 
																																	 
																																									 
																																									 
																																									 
																																	 
																																									 
																																									 
																																									 
																																									 
																																									 
																																									 
																																									 
																																									 
																																									 
																																									 
																																									 
																																									 
																																	 
																																	 
																									 
																																	 
																																	 
																																	 
																																	 
																																	 
																																	 
																																	 
																																	 
																																	 
																																	 
																																	 
																																									 
																																									 
																																	 
																																									 
																																									 
																																									 
																																	 
																																									 
																																									 
																																	 
																																	 
																																	 
																																	 
																																	 
																									 
																																	 
																																	 
																																	 
																																	 
																																	 
																																	 
																																	 
																																									 
																																									 
																																									 
																																									 
																																									 
																																									 
																																									 
																																									 
																																									 
																																									 
																																	 
																																									 
																																									 
																																									 
																																									 
																																									 
																																									 
																																									 
																																									 
																																									 
																																	 
																																									 
																																									 
																																									 
																																									 
																																									 
																																									 
																																									 
																																									 
																																									 
																																									 
																																									 
																																									 
																																	 
																																									 
																																									 
																																									 
																																									 
																																									 
																																	 
																																									 
																																									 
																																									 
																																									 
																																									 
																																									 
																																	 
																																									 
																																									 
																																									 
																																									 
																																									 
																																	 
																																									 
																																									 
																																									 
																																	 
																																									 
																																	 
																									 
																																	 
																																	 
																																	 
																																	 
																																	 
																																	 
																																	 
																																	 
																																	 
																																	 
																																	 
																																	 
																																	 
																																	
